english
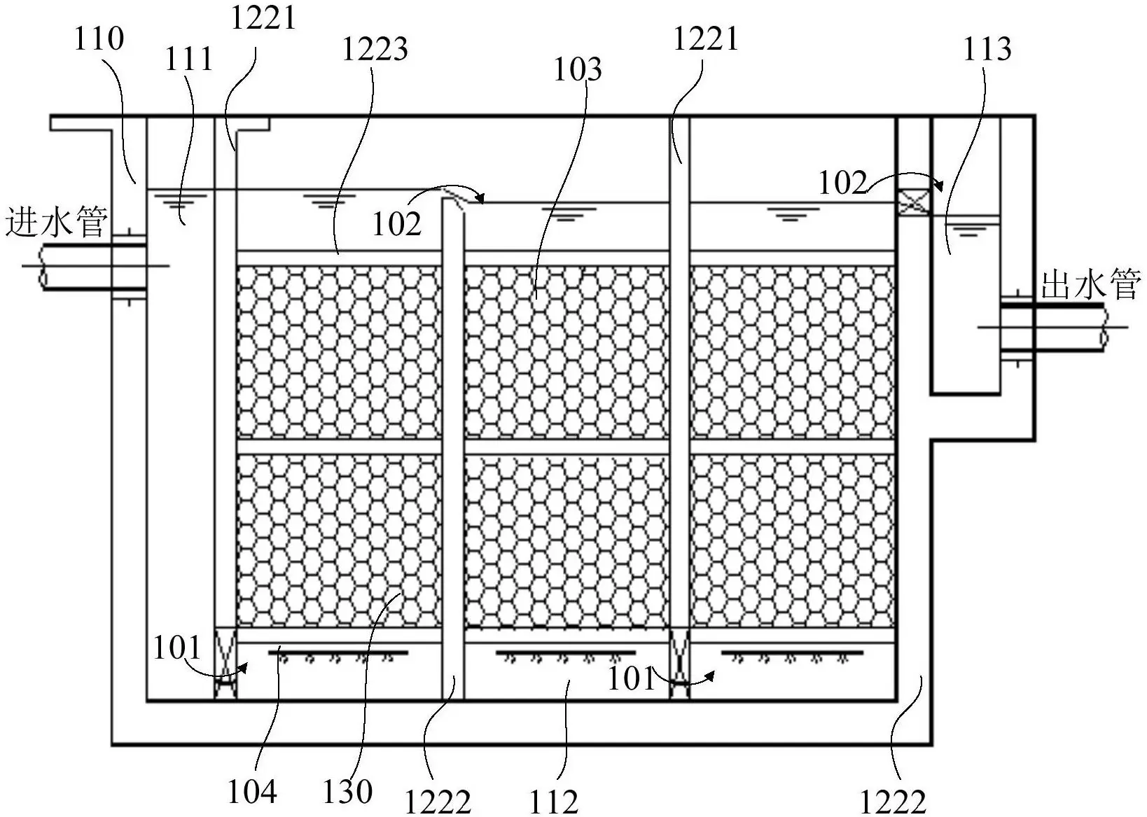
反硝化滤池是采用石英砂作为反硝化生物的挂膜介质,去除硝酸氮(no3-n)及悬浮物的构筑物。反硝化滤池根据水力流态分为上流式和下流式两种形态。上流式的反硝化滤池形态:污水从下往上分为配水层、承托层、填料层、清水层。下流式的反硝化滤池形态:污水从滤池上部配水槽进入滤料区,滤池从上往下分为配水区、填料区、承托层、出水收集区。
目前反硝化滤池因为其占地较少,兼具ss去除的功能,因此多被设计在二级生物处理后端,作为深度去除脱氮(后置反硝化)、ss去除的强化工艺。也有部分处理水量较小的水厂,将反硝化滤池设计在二级生物处理段和硝化滤池串联使用(前置反硝化)。
(1)处理效果好,出水水质稳定
(2)碳源投加量最少,节约运行成本
(3)出水浊度低,对ss有极好的去除效果
(4)过滤为下向流,冲洗为上向流,与砂滤类似,冲洗效果好
(5)滤池寿命长,终身免维护,运行自控化程度高
(6)有一定耐冲击能力,特别是对ss有很好的适应性。

